ESB文档库 ESB文档库
00 概述
01 产品安装指南
02 快速入门指南
03 ESB Studio使用指南
04 企业服务总线使用指南
05 高级配置指南
06 接口服务说明
07 升级&数据迁移指南
08 FAQ
  • API发布

# API发布

  1. 使用manager账号(默认密码:000000)登录系统,点击开发门户,进入“工作台”页面。

  2. “工作台”页面,在“我的系统”页签中,选择系统点击“API快速发布”,在“API快速发布“弹窗,选择”SAP“页签。

  3. 点击”SAP转HTTP“按钮,进入”SAP发布“页面。

  4. ”SAP发布“页面,参考字段说明表格,填写“业务信息配置”页签中内容(此场景中”导入方式“选择”sap导入“, 如没有所需的服务与SAP源,在此页面可快速新增服务,SAP源等信息)

    参数 说明
    所属系统 API所属系统
    所属服务 API所属服务,若没有对应服务,新增服务
    导入方式 业务信息导入方式,可选:手动录入、SAP导入
    此场景选择:sap导入
    SAP源 SAP系统连接配置
    接口描述 业务接口描述
  5. “业务信息配置”信息填写完成后,点击“下一步”按钮,进入“接口添加”页面。

  6. 在接口添加页面默认会展现所选SAP系统下的所有函数组,点击列表中的函数组,在中间函数栏中会列出该组下的函数。

  7. 也可根据函数组,或直接根据函数名称模糊查询。

  8. 在函数栏中选择需要添加的函数,点击“>”按钮,将函数添加至导入栏。

  9. 如果已经存在相同函数,点击编辑修改函数,避免接口编码重复。

  10. 点击确认导入函数。

  11. 点击菜单“API管理-API注册”,在"API资产"中选择导入时所选系统,可看到导入的函数,此时函数状态为已注册。

  1. 点击操作栏中“发布”按钮,即可进行接口发布。

  1. “业务信息配置”信息填写完成后,点击“下一步”按钮,进入“接口发布”页面,参考字段说明表格填写发布信息,点击“发布”按钮。

参数 说明
代理端口 ESB代理API的端口
代理URI ESB代理API的URL,比如:/sap2wsImport
发布说明 该接口发布说明
发布至网关服务器 是否将该接口发布至网关服务器,默认不勾选
ESB服务器 选择ESB服务器组,发布接口
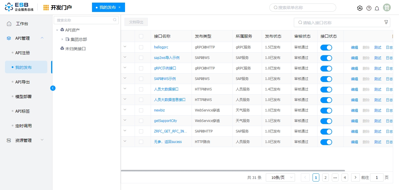
  1. 发布成功后,在工作台点击“我的发布”查看发布结果。

功能 说明
接口名称 查看发布详情
接口状态 控制接口上线、下线
编辑 已发布接口修改(修改后自动生成新版本并发布)
测试 发布接口测试
日志 查看接口的调用日志
版本 接口版本管理
取消发布 将已发布接口进行取消发布
发布说明 查看接口的发布说明信息

← 2.3.1.3 API日志 2.3.2.2 API订阅 →